Ozero Footwear

Robotic manufacturing platform for biodegradable footwear

The Oᵒ platform is a vertically integrated footwear platform that couples biomaterial-based parts with robotic manufacturing and computational design. The work is presented as a prototype manufacturing environment that makes the pipeline legible from material production through finished product.

My role:

I owned core development across robotic fabrication system architecture, mechanical design, non-planar toolpaths, integration of kinematic systems, controls integration for periphery devices, and product-facing embodiments.

Client : Oxman

Scope : Industrial Engineering

Date : 2025

Location : New York , NY

From Bacteria to Bacteria

O° is a design platform that starts and ends with biology. Their life and afterlife in bacteria are the kernels of a future we wish to see in the world, one that propels us beyond the realm of ‘product recycling’ to the realm of ‘product reincarnation’: a future in which shoes can biodegrade to nurture fruit-giving-trees, and trees befall shoes.

System Concept and Factory Prototype

Ozero is structured as a platform, not a single shoe. The objective is repeatable output through a controlled pipeline where material, geometry, and machine behavior are co-designed.

I defined the platform as a closed loop between material constraints, design generation, and fabrication execution.
I Set up workflows so the same digital definitions could produce multiple variants without retooling the entire manufacturing process

The final setup with two robot arms able to work simultaneously

A custom robotic cell with extruders for non planar printing

The setup under construction

Mono Materiality

Ozero is built around a mono material strategy using PHA, a biodegradable polymer family that can be processed into multiple part types while maintaining a single base chemistry across the shoe. This matters because it lets material behavior, manufacturing constraints, and end of life outcomes be designed together instead of traded off against mixed-material assemblies.

I developed manufacturing workflows that treat mono materiality as a design constraint, so geometry, process parameters, and assembly logic all work within one polymer family.

I tuned process choices and part architectures to align with mono material outcomes, including printed lattice structures and polymer process development for footwear components.

Custom Extruders and Process Heads

A key part of the Ozero platform was building process-specific extrusion hardware that could be paired with multi-axis motion. Each head required different thermal architecture, pressure generation, sensing, and control logic, but all were designed to integrate cleanly with the robotic cell and the slicing pipeline so process parameters could be scheduled along the toolpath.

Meltblowing

FDM Extrusion

Mechanical Foaming

Footwear Design

The process itself required a re imagining of how footwear should be made from ground up. I developed a processes for working polymers as well as custom shoe generation software.

A variety of different shoes that came from the same manufacturing system.

The shoes are made out of fully biodegradable polymers.

Engineering & Patents

I invented a method for achieving higher levels of absolute tolerance in collaborative robots. This was achieved through a feedback loop embedded in our custom slicing software which took physical measurement data through a a laser sensor. This data was used to account for any manufacturing or assembly defects in the print substrate or shoe last.

Primary inventor on US20250121557A1 (Published)

  • Lead inventor on pending application 18/912,928

  • Provisional filed for dual-extruder non-planar 3D printing system.

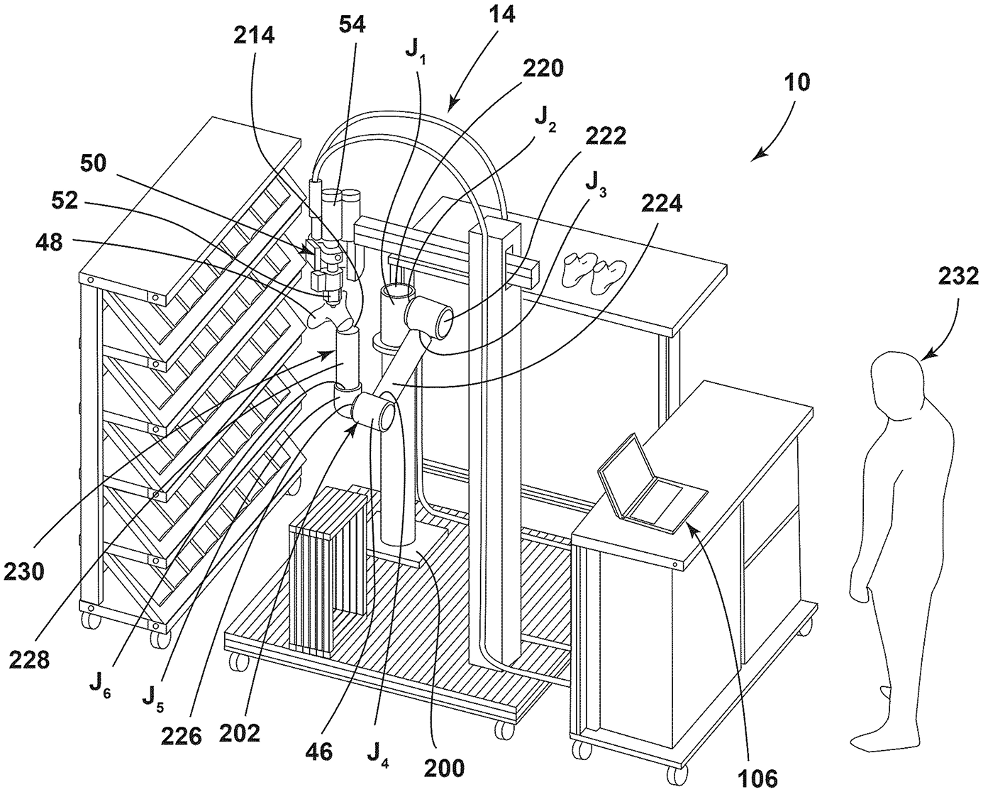
  • Architected multi-axis fabrication platforms integrating 6-axis UR robots and custom 5-axis machines.

Melt Blowing Mech-E

Melt blowing was developed to produce fine fiber output with tight control over temperature, throughput, and air delivery. The system uses multiple closed-loop heating zones and airflow control so fiber formation stays stable across long runs, with cabinet-level integration for power distribution, safety, and synchronized process control.

I did the initial mechanical design and invention of a point source melt blower. I then developed the control systems for process stability.

Next
Next

Surface Research